Objectifs
Mise à niveau / rappels de métrologie
Les différents types de mesure
Les appareils de mesure
Introduction
La métrologie est l'ensemble des moyens techniques utilisés pour le contrôle des spécifications dimensionnelles des pièces mécaniques et des paramètres physiques (pression, température, compression moteur, …) |
LA MÉTROLOGIE
Introduction
En mécanique, la métrologie s'intéresse au contrôle des organes pouvant subir une usure ou une déformation due au fonctionnement.
Par exemple : Frottement cylindre/piston, écartement des bougies, plaquettes de frein, coussinet de vilebrequin, axes des têtes de bielle… |
Le contrôle
Le contrôle nous permet de constater si la pièce correspond aux exigences demandées.
Phases de contrôle
Conditions d'exécution
Les conditions d'exécution sont :
■ La température ambiante de la pièce à contrôler et des instruments de mesure avoisine les 20°C.
■ La pièce à contrôler est propre.
Remarque : La grande précision des appareils de mesure impose :
■ Une manipulation soignée (pas de choc).
■ Un entretien régulier et approprié.
■ Un rangement systématique après utilisation.
■ Un étalonnage périodique.
Types de mesures
L'incertitude de mesure
Étalonnage
Avant d'effectuer un contrôle, il est important de vérifier l'instrument de mesure et de l'étalonner si besoin.
Il existe un organisme français chargé de réaliser les mesures et essais de produits de toutes sortes en vue de leur certification pour leur mise sur le marché. Il s'agit du Laboratoire National de Métrologie et d'Essais (LNE) |
À l'atelier, vous pouvez réaliser vous même l'étalonnage de certains instruments de mesure avec l'aide de cales étalon.
Exemple : Le micromètre
Le micromètre 0-25 mm. Il permet de mesurer des épaisseurs entre 0 mm et 25 mm. Pour l'étalonnage il n'est pas nécessaire de prendre une cale, on l'étalonne directement à 0 en mettant en contact les deux touches. |
Le micromètre 50-75 mm. Il permet de mesurer des épaisseurs entre 50 mm et 75 mm. |
Il est important de bien étalonner son micromètre pour avoir une mesure correcte. Pour cela on mesure une cale étalon entre 25 et 50 mm: ici une cale de 30 mm. |
Si le micromètre n'est pas étalonné on utilise une clé que l'on met dans les trous (entouré en rouge). |
Jusqu'à ce que l'on ait le trait du corps sur le 0.
Conclusion
La métrologie est l'ensemble des moyens qui vont nous servir à contrôler une pièce. Il existe 2 phases de contrôle, le subjectif et l'objectif.
Une mesure peut se faire directement, par comparaison ou avec des calibres.
La précision de la mesure dépend de l'environnement et de l'utilisation de l'appareil, c'est l'incertitude de mesure.
Tout appareil de mesure doit être étalonner avant d'effectuer le contrôle.
LES APPAREILS DE MESURE
Introduction
En fonction de la mesure ou contrôle à réaliser, nous devons choisir le bon instrument de mesure.
Les règles et mètres
Les cales étalons
Définition :
Elles sont de section rectangulaire en acier rectifié. Elles sont utilisées pour contrôler par comparaison des mesures, étalonner des calibres ou des instruments de mesure. |
Pied à coulisse ou Calibre à coulisse
Définition : Le pied à coulisse ou calibre à coulisse
Le pied à coulisse permet de mesurer des distances entre des surfaces parallèles, des diamètres et des alésages.
Il existe des pieds à coulisse à vernier et digital.

Méthode : Comment tenir le pied à coulisse
Méthode de lecture
Méthode :
Lire le nombre entier de mm à gauche du 0 du vernier.
Localiser la graduation du vernier, une seule possible, qui coïncide avec une graduation quelconque de la règle.
Additionner le nombre entier de mm avec les 1/10, 1/20 ou 1/50 selon le cas.
Ci-dessous un exemple : 63,64 mm
Exercice : Lire sur un pied à coulisse
Jauge de profondeur
Définition : La jauge de profondeur
La jauge de profondeur permet de mesurer des distances entre des surfaces parallèles.
Il existe des jauges de profondeur à vernier et digitales : 
Sur une jauge de profondeur à vernier, la méthode de lecture est la même que sur un pied à coulisse. |
Exemple : Exemples d'utilisation
Le micromètre
Définition : Précision de mesure
Le micromètre est un instrument beaucoup plus précis que le pied à coulisse. Sa précision est de l'ordre du 1/100 de mm.
Grâce à sa conception, il est moins sujet à la déformation. Les erreurs dû à la différence de pression sur la pièce à mesurer sont éliminées par le système de vis avec limiteur de couple.
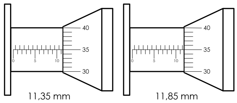
Méthode de lecture
Méthode :
Le tambour est gradué en 50 parties égales.
Chaque partie représente 1/100 de mm.
Il faut donc tourner le tambour de 2 tours pour que la touche mobile se déplace de 1 mm.
De 1 à 49 centièmes, la lecture est directe.
De 51 à 99 centièmes, il faut ajouter 0,5 mm visible sur la douille graduée pour obtenir la valeur exacte.
La lecture au micromètre demande une certaine attention afin de ne pas commettre d'erreur.
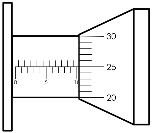
Exercice : Lire sur un micromètre
Le comparateur
Définition : Le comparateur
Le comparateur enregistre les différences de cotes entre les différents points d'une pièce ou entre les pièces à mesurer et les étalons (pièces types ou cales étalons). Le comparateur est constitué d'un cadran gradué avec une aiguille pivotant en son centre. Autour du cadran une lunette comportant un ou plusieurs index peut pivoter manuellement. L'index permet à l'utilisateur de matérialiser le point zéro. Le palpeur est constitué de deux parties : la tige et la touche. La touche est vissée au bout de la tige. Il est possible d'utiliser diverses formes de touche et ainsi adapter la forme de l'extrémité à la pièce à mesurer. |
Méthode : Fixation du comparateur
La plupart du temps, le comparateur est fixé sur un support magnétique. |
Les calibres
Définition : Les calibres à limites
Pour assurer l'interchangeabilité des pièces, on les cote souvent à l'aide d'ajustement fixant ainsi une cote mini et une cote maxi. Pour vérifier ces pièces, on utilise souvent des calibres à limites.
Exemple : Contrôle de filetage
Les tampons filetés. |
Les jauges
Définition : Les jauges
Les jauges sont des instruments d'ateliers qui permettent un contrôle rapide et simple, peu précis. On peut distinguer les jauges à rayons, d'épaisseurs, de filetages...






















































